DMS Online で、監査マネージャーおよびシステム イベント モジュールを使用して、ユーザー アクティビティおよびシステム イベントを追跡することができます。
監査マネージャー は、DMS Online でのすべてのユーザー アクティビティを追跡します。監視 > 監査マネージャー に移動して、DMS Online のすべてのユーザーのアクティビティを表示します。

[フィルター] をクリックすると、フィルター ウィンドウが表示されます。日時・モジュール・状態 フィルターを選択し、[適用] をクリックして、フィルター条件を満たすアクティビティを表示することができます。[すべてクリア] をクリックすると、構成したフィルター条件をすべてクリアすることができます。
テーブルの上の検索ボックスにユーザー名のキーワードを入力して、そのキーワードに関連するユーザー アクティビティを検索します。
テーブルの上の [更新] をクリックして、テーブルに一覧表示されているユーザー アクティビティを更新します。
[エクスポート] をクリックして、現在フィルターされているユーザー アクティビティを Excel ファイルにエクスポートします。
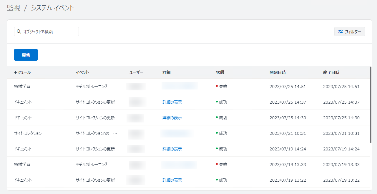
システム イベント ページでは、DMS Online のシステム イベントがテーブルに一覧表示されています。監視 > システム イベント に移動して、DMS Online のシステム イベントを表示します。

[フィルター] をクリックすると、フィルター パネルが表示されます。実行者・モジュール・イベント・状態 フィルターを選択し、[適用] をクリックして、構成した条件を満たすアクティビティのみを表示することができます。[すべてクリア] をクリックすると、構成したフィルター条件をすべてクリアすることができます。
テーブルの上の検索ボックスにオブジェクトのキーワードを入力して、そのキーワードに関連するシステム イベントを検索します。
テーブルの上の [更新] をクリックして、テーブルに一覧表示されているシステム イベントを更新します。
システム イベントの [詳細] 列のリンクをクリックして、イベントの詳細を表示します。 [エクスポート] をクリックして、現在フィルターされているユーザー アクティビティを Excel ファイルにエクスポートします。また、/dmso/audits/export APIを呼び出して、ユーザー アクティビティを自動エクスポートすることもできます。